找回密码
 立即注册
澳门威尼斯人
U8
U18
海燕招商
A
蓝盾
e世博
islot.
申博亚洲
B
开云
腾博会
德信
C级广告商
吉祥坊
华体会
查看: 222671|回复: 49

[彩票] 【实战有奖】今天到九五至尊玩彩票输了11块

[复制链接]

1213

主题

3万

回帖

1971

金币

铂金用户

积分
95347

老会员交易勋章光影行者

发表于 2024-7-15 13:31 | 显示全部楼层 |阅读模式

马上注册,结交更多好友,享用更多功能,让你轻松玩转社区。

您需要 登录 才可以下载或查看,没有账号?立即注册

×
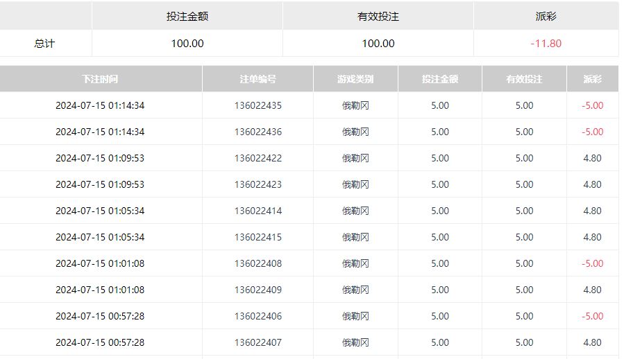
    今天去九五至尊玩了CC彩票了。选择了俄勒冈的快乐8,结果完成100流水,输了11块钱的了。
# z0 n# f! l- D! L$ @  R( }
+ z# p' _' q5 G" y" H1 e( N    今天的战斗情况总体上是不太好的了。胜率比较低了。所以会输钱。而这个胜和败呢,又是体现得比较的有特点。就是2红或者2黑比较多。反而是我以前感觉的一红一黑比较少。也是非常奇怪的啊。
% B! }. q! c" v- Y$ H    22.JPG 33.JPG 8 Y4 Y8 I. d& ?4 V! _7 [& Z7 m
     其实,这场战斗对我来说,还是具有风险性的。因为前5期,前10手,错误的很多。10负了7。第一期出现了一红一黑,很一般。第二期和第三期竟然都是2黑。这就叫人有点心慌了。好在第4期来了一个2红,稍微缓解了一下紧张的心情。但第5期竟然又出现了2黑,心情就又一下悬起来了。第6,7两期都是一红一黑,进入平稳期。第8,9两期出现了2个两红,也是叫人一下子欢喜起来,可惜第10期又出现2黑,又输了10块回去。最后还是以输了11块钱告终。整个过程,充满了悬念。紧张,刺激。好在结果还是可以接受的。. H& u* C/ C* j1 L+ M- w
    这场战斗告诉我,先输后打回的事情是会有的。不要怕前面输了。不要以为前面输了些,后面还会输得更大更多。只要稳定心态,可以避免更大的损失。6 O8 T" j8 D' h3 |$ e' R) {( Z' r
    11.JPG
5 [* t- D( U4 F( w3 H
回复

使用道具 举报

0

主题

9812

回帖

4749

金币

金牌会员

积分
31022

老会员

发表于 2024-7-15 13:43 | 显示全部楼层
这样的损失基本没有什么感觉了,调整一下,明天就打回来了。
回复 支持 反对

使用道具 举报

102

主题

6390

回帖

2606

金币

金牌会员

积分
20822

老会员

发表于 2024-7-15 15:40 | 显示全部楼层
战绩不是很理想,可以再调整一下再来提高胜率
回复 支持 反对

使用道具 举报

1521

主题

7万

回帖

1万

金币

海燕硕士

积分
243140

万时之王老会员精华勋章勤奋勋章交易勋章光影行者

发表于 2024-7-15 16:13 | 显示全部楼层
输钱了还是非常不开心的,不过楼主的能力相信是可以能够把输的赢回来的
回复 支持 反对

使用道具 举报

1521

主题

7万

回帖

1万

金币

海燕硕士

积分
243140

万时之王老会员精华勋章勤奋勋章交易勋章光影行者

发表于 2024-7-15 16:13 | 显示全部楼层
你说的都对 发表于 2024-7-15 13:43% V: P1 S) Q( d- }
这样的损失基本没有什么感觉了,调整一下,明天就打回来了。
0 G4 N% W3 V$ D) A  E9 y: E% p
只要调整好自己的状态是可以能够轻轻松松把输的赢回来的呢
回复 支持 反对

使用道具 举报

3405

主题

8万

回帖

9127

金币

海燕硕士

积分
234895

万时之王老会员精华勋章勤奋勋章交易勋章光影行者

发表于 2024-7-15 16:21 | 显示全部楼层
就这样的情况的,亏损的也还是不多,也还是希望下一次可以有好运
回复 支持 反对

使用道具 举报

3405

主题

8万

回帖

9127

金币

海燕硕士

积分
234895

万时之王老会员精华勋章勤奋勋章交易勋章光影行者

发表于 2024-7-15 16:21 | 显示全部楼层
cwx1994 发表于 2024-7-15 16:13* ^* s2 i; p  Q% ~! r5 P" K* O, g
只要调整好自己的状态是可以能够轻轻松松把输的赢回来的呢

, s0 l! ?/ w/ {7 c6 _# [当然这样的状态的话,也还是非常的需要的就是可以好好的调整一下了
回复 支持 反对

使用道具 举报

3405

主题

8万

回帖

9127

金币

海燕硕士

积分
234895

万时之王老会员精华勋章勤奋勋章交易勋章光影行者

发表于 2024-7-15 16:21 | 显示全部楼层
cwx1994 发表于 2024-7-15 16:13
5 F1 g, Y: K6 \' o; o; X9 F, l7 E) z输钱了还是非常不开心的,不过楼主的能力相信是可以能够把输的赢回来的

' [* C* H( i* A这样的心情的也还是可以理解的,毕竟的,也还是玩游戏多久是希望可以赢钱了
回复 支持 反对

使用道具 举报

632

主题

8226

回帖

5556

金币

金牌会员

积分
27211

老会员交易勋章

发表于 2024-7-15 17:09 | 显示全部楼层
输不到20块钱,我是没什么感觉的。我是自己要继续搏杀的
回复 支持 反对

使用道具 举报

31

主题

5597

回帖

2209

金币

银牌会员

积分
16391

老会员

发表于 2024-7-15 19:23 | 显示全部楼层
小输是没什么吧,玩的也会轻松一点了,下次跟上庄家
回复 支持 反对

使用道具 举报

66

主题

8735

回帖

622

金币

金牌会员

积分
22856

老会员光影行者

发表于 2024-7-15 19:37 | 显示全部楼层
这样的结果还是没什么影响的,顺便自己调整一下即可
回复 支持 反对

使用道具 举报

813

主题

2万

回帖

1万

金币

铂金用户

积分
88784

老会员精华勋章魅力达人

发表于 2024-7-15 19:49 来自手机 | 显示全部楼层
楼主这一场打的还是稳的,虽然输了点但没有上头是好事的了。
回复 支持 反对

使用道具 举报

813

主题

2万

回帖

1万

金币

铂金用户

积分
88784

老会员精华勋章魅力达人

发表于 2024-7-15 19:51 来自手机 | 显示全部楼层
sc豆豆龙 发表于 2024-7-15 19:37# N/ ~7 n' d: l% _
这样的结果还是没什么影响的,顺便自己调整一下即可

1 d4 n% P" I/ p% q5 Y  A( Q( m输11元不多可以接受,楼主结束后能总结出一些经验也是很好的结果了。
回复 支持 反对

使用道具 举报

813

主题

2万

回帖

1万

金币

铂金用户

积分
88784

老会员精华勋章魅力达人

发表于 2024-7-15 19:52 来自手机 | 显示全部楼层
cwx1994 发表于 2024-7-15 16:13
, B4 V; O3 M3 G( Z' [$ ^7 Y只要调整好自己的状态是可以能够轻轻松松把输的赢回来的呢

( q; z) ]5 C4 b  O我也这样认为,输的时候不要影响自己的情绪,迅速调整好心态还是可以赢回来的。
回复 支持 反对

使用道具 举报

66

主题

8735

回帖

622

金币

金牌会员

积分
22856

老会员光影行者

发表于 2024-7-15 20:00 | 显示全部楼层
傻傻狠有福 发表于 2024-7-15 19:23
" ^7 q& r4 f5 c- G2 C, h0 p小输是没什么吧,玩的也会轻松一点了,下次跟上庄家

* O% k* V0 Y# u9 W# T0 t& A+ V确实是这么一个情况,没对亏损的情况还是可以的呀
回复 支持 反对

使用道具 举报

您需要登录后才可以回帖 登录 | 立即注册

本版积分规则

广告合作|评测有奖|福利汇|论坛简介|钱包合集|手机版|小黑屋|Archiver|海燕论坛

快速回复 返回顶部 返回列表