找回密码
 立即注册
澳门威尼斯人
U8
U18
海燕招商
A
蓝盾
e世博
islot.
申博亚洲
澳门银河
B
腾博会
德信
C级广告商
吉祥坊
查看: 322|回复: 36

[彩票] 彩票游戏坚持策略打法收米机会很大些

[复制链接]

77

主题

2788

回帖

766

金币

铜牌用户

积分
8661

老会员

发表于 2026-4-18 13:20 | 显示全部楼层 |阅读模式

马上注册,结交更多好友,享用更多功能,让你轻松玩转社区。

您需要 登录 才可以下载或查看,没有账号?立即注册

×
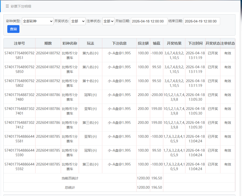
更多玩彩票的时候,都是要坚持每天的打法,这样才能有机会进一步去突破。中午运气不错的,三定位两面玩法,赢下190多块钱。+ q* d  C6 v+ b
2 P! ~! a1 k- P+ J% _' s

4 w) Q% n" Y: U, s9 u- [. B. B  [ 2.jpg 1 v" w# f0 w  P+ f/ g) m
1.jpg
* |3 _, ?* i' Z7 d! V) R7 o

评分

参与人数 1金币 +6 收起 理由
海燕RG + 6 实战分享

查看全部评分

回复

使用道具 举报

63

主题

4万

回帖

2390

金币

钻石用户

积分
127518

万时之王老会员勤奋勋章交易勋章光影行者

发表于 2026-4-18 16:04 | 显示全部楼层
这个也是有个好运气,那是超级不错了,搞起来,保持下去的了!
回复 支持 反对

使用道具 举报

98

主题

2万

回帖

7833

金币

铂金用户

积分
89099

老会员交易勋章魅力达人

发表于 2026-4-18 17:54 | 显示全部楼层
中午这手两面定位打得漂亮,190多块到手,看来坚持日常打法确实能等来好时机
回复 支持 反对

使用道具 举报

2552

主题

8万

回帖

3440

金币

海燕硕士

积分
228138

老会员超级精华精华勋章美女勋章勤奋勋章交易勋章万时之王

发表于 2026-4-19 07:37 | 显示全部楼层
有个很大的机会也是你自己抓注的
回复 支持 反对

使用道具 举报

2552

主题

8万

回帖

3440

金币

海燕硕士

积分
228138

老会员超级精华精华勋章美女勋章勤奋勋章交易勋章万时之王

发表于 2026-4-19 07:38 | 显示全部楼层
小策 发表于 2026-4-18 17:543 \7 U9 F; @( p$ k
中午这手两面定位打得漂亮,190多块到手,看来坚持日常打法确实能等来好时机 ...

$ q% U% U+ t6 W8 X7 C. m  |, n# q搞得漂亮,赚钱也是非常快速
回复 支持 反对

使用道具 举报

2552

主题

8万

回帖

3440

金币

海燕硕士

积分
228138

老会员超级精华精华勋章美女勋章勤奋勋章交易勋章万时之王

发表于 2026-4-19 07:38 | 显示全部楼层
奔四 发表于 2026-4-18 16:04
: _3 j2 l* I6 \. `* S8 l这个也是有个好运气,那是超级不错了,搞起来,保持下去的了!
2 o/ u" P* j2 U$ J0 Y% b+ X. a) t6 J( d
运气来的时候其实可以多玩一下看看
回复 支持 反对

使用道具 举报

52

主题

2万

回帖

1万

金币

铂金用户

积分
99297

老会员光影行者

发表于 2026-4-19 08:57 | 显示全部楼层
三定位两面玩法能赢下近两百块,看来中午这波节奏抓得挺准,坚持打法确实有效果
回复 支持 反对

使用道具 举报

52

主题

2万

回帖

1万

金币

铂金用户

积分
99297

老会员光影行者

发表于 2026-4-19 08:57 | 显示全部楼层
杨雪儿 发表于 2026-4-19 07:371 ]' @, Z- E; E0 m4 M1 r$ B
有个很大的机会也是你自己抓注的
6 f1 e' x: q( f5 \& b' l- c
机会确实得自己把握,但策略执行到位才能把机会变成实实在在的收获
回复 支持 反对

使用道具 举报

8

主题

8276

回帖

1万

金币

千足金牌会员

积分
50898
发表于 2026-4-19 09:51 | 显示全部楼层
希望楼主可以能够每天都是可以收米的结果了
回复 支持 反对

使用道具 举报

8

主题

8276

回帖

1万

金币

千足金牌会员

积分
50898
发表于 2026-4-19 09:52 | 显示全部楼层
whywhy 发表于 2026-4-19 08:57
* y5 O: P' j  L三定位两面玩法能赢下近两百块,看来中午这波节奏抓得挺准,坚持打法确实有效果 ...

, t' {$ h- w5 e+ q楼主的策略还是非常棒的赢钱的了
回复 支持 反对

使用道具 举报

8

主题

8276

回帖

1万

金币

千足金牌会员

积分
50898
发表于 2026-4-19 09:52 | 显示全部楼层
whywhy 发表于 2026-4-19 08:57! y# o* f2 v7 c3 C8 A' [: @
机会确实得自己把握,但策略执行到位才能把机会变成实实在在的收获
1 q0 Q& D/ [, E, |
如果有机会了还是要努力把握住的了
回复 支持 反对

使用道具 举报

20

主题

1万

回帖

7184

金币

铂金用户

积分
70672

老会员

发表于 2026-4-19 10:53 | 显示全部楼层
定位两面稳扎稳打果然见效,小赢190算个好彩头,保持这节奏后续更值得期待
回复 支持 反对

使用道具 举报

20

主题

1万

回帖

7184

金币

铂金用户

积分
70672

老会员

发表于 2026-4-19 10:53 | 显示全部楼层
山区奥特曼 发表于 2026-4-19 09:52  r1 h1 h  C( ^4 m( _8 F9 }
楼主的策略还是非常棒的赢钱的了
& s* v" g9 V: u! |' b
这策略确实稳,赢钱不是靠蒙,是看准节奏慢慢磨出来的
回复 支持 反对

使用道具 举报

20

主题

1万

回帖

7184

金币

铂金用户

积分
70672

老会员

发表于 2026-4-19 10:54 | 显示全部楼层
whywhy 发表于 2026-4-19 08:57) S1 D! ]# A9 B$ L. X
机会确实得自己把握,但策略执行到位才能把机会变成实实在在的收获

$ w9 b" m" J+ m5 K" L策略是骨架,执行是血肉,缺一不可,稳扎稳打才熬得到收米的那一口热乎气
回复 支持 反对

使用道具 举报

20

主题

1万

回帖

7184

金币

铂金用户

积分
70672

老会员

发表于 2026-4-19 10:54 | 显示全部楼层
杨雪儿 发表于 2026-4-19 07:38
7 {* w0 x& W( v$ W搞得漂亮,赚钱也是非常快速

2 H3 P7 v  k+ ^4 J5 o稳扎稳打确实比瞎碰强,这套节奏拿捏得挺有章法
回复 支持 反对

使用道具 举报

您需要登录后才可以回帖 登录 | 立即注册

本版积分规则

广告合作|福利汇|论坛简介|钱包教程|手机版|小黑屋|Archiver|海燕论坛

快速回复 返回顶部 返回列表