找回密码
 立即注册
澳门威尼斯人
U8
U18
海燕招商
A
蓝盾
e世博
islot.
申博亚洲
澳门银河
B
腾博会
德信
C级广告商
吉祥坊
查看: 1374|回复: 71

[彩票] 彩票运气不错的,保持盈利190多块钱

[复制链接]

77

主题

2788

回帖

766

金币

铜牌用户

积分
8661

老会员

发表于 2026-4-12 03:07 | 显示全部楼层 |阅读模式

马上注册,结交更多好友,享用更多功能,让你轻松玩转社区。

您需要 登录 才可以下载或查看,没有账号?立即注册

×
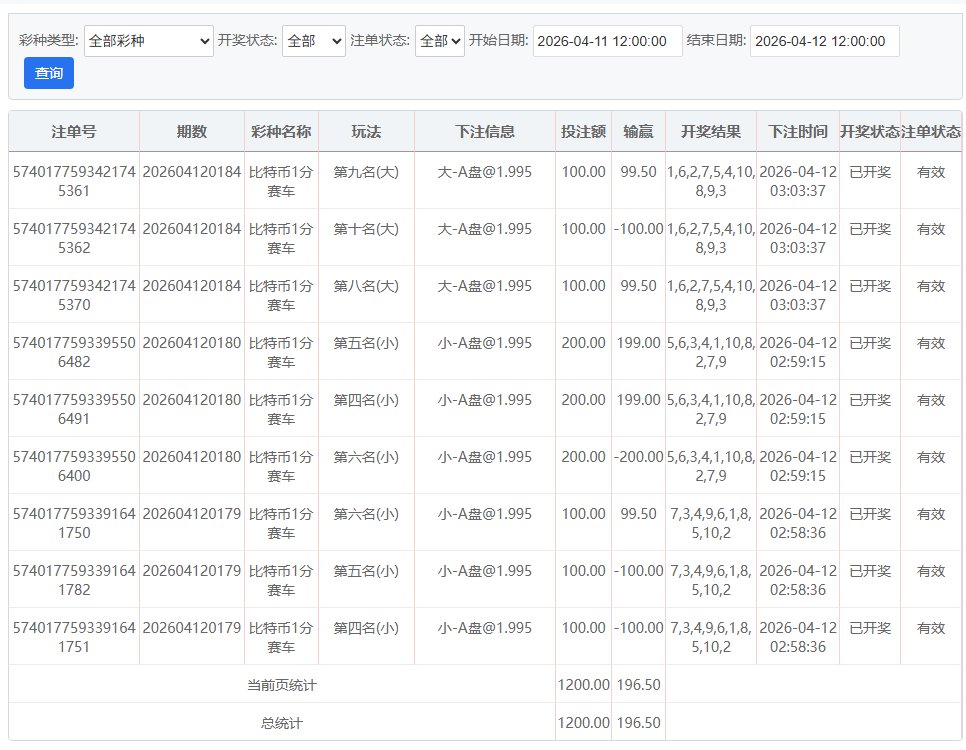
每天的策略坚持下来,收米算是有点进步;保持比特币彩票三定位两面玩法,获利还有机会的,。收190多块钱;% @% h$ W0 n8 M. `4 w

$ `: m6 g8 a, K* f0 t
8 M  R5 k& L6 j. p+ G  b2 U9 ~1 B 2.jpg ( i4 s1 ]* N2 o4 S5 r) b% |* z
1.jpg , D* S# `8 o6 d. C8 o' \* E3 T& ^+ l

评分

参与人数 1金币 +6 收起 理由
海燕RG + 6 实战分享

查看全部评分

回复

使用道具 举报

8

主题

1万

回帖

5384

金币

千足金牌会员

积分
59799

老会员光影行者

发表于 2026-4-12 06:12 | 显示全部楼层
策略稳定确实能带来点甜头,190多块到手感觉还挺踏实,继续保持这节奏
回复 支持 反对

使用道具 举报

2

主题

4574

回帖

9077

金币

金牌会员

积分
31654
发表于 2026-4-12 06:13 | 显示全部楼层
坚持策略真没白下功夫,三定位两面玩法能稳收190多,这小进步挺实在,别飘继续保持节奏呀
回复 支持 反对

使用道具 举报

1214

主题

3万

回帖

968

金币

铂金用户

积分
94725

老会员交易勋章光影行者

发表于 2026-4-12 07:08 来自手机 | 显示全部楼层
最终这个成绩还是很不错的了,也是蛮开心的吧。
回复 支持 反对

使用道具 举报

1214

主题

3万

回帖

968

金币

铂金用户

积分
94725

老会员交易勋章光影行者

发表于 2026-4-12 07:09 来自手机 | 显示全部楼层
bai 发表于 2026-4-12 06:12
) t* u3 s. x% l, u& t策略稳定确实能带来点甜头,190多块到手感觉还挺踏实,继续保持这节奏
9 J) m. e8 J& ^
有好的节奏还是保持着继续加油吧。
回复 支持 反对

使用道具 举报

1214

主题

3万

回帖

968

金币

铂金用户

积分
94725

老会员交易勋章光影行者

发表于 2026-4-12 07:09 来自手机 | 显示全部楼层
NO.2 发表于 2026-4-12 06:13
$ J! V% S+ u  U3 Q6 P3 Y坚持策略真没白下功夫,三定位两面玩法能稳收190多,这小进步挺实在,别飘继续保持节奏呀 ...
2 w7 y) ?( E9 e) a6 |
有个好的方法的话,那就坚持使用下去了。
回复 支持 反对

使用道具 举报

52

主题

2万

回帖

1万

金币

铂金用户

积分
99297

老会员光影行者

发表于 2026-4-12 08:53 | 显示全部楼层
每天坚持自己的玩法,能稳定有收获确实挺踏实的,190多块也是不错的成果了
回复 支持 反对

使用道具 举报

52

主题

2万

回帖

1万

金币

铂金用户

积分
99297

老会员光影行者

发表于 2026-4-12 08:54 | 显示全部楼层
猴哥打野 发表于 2026-4-12 07:08. [& r- y" B" L' P1 s% K! Z
最终这个成绩还是很不错的了,也是蛮开心的吧。

6 K: Q9 M/ u1 L9 B. ^2 X5 Y盈利快两百块确实值得开心,这成绩能保持住就更好了
回复 支持 反对

使用道具 举报

8

主题

8276

回帖

1万

金币

千足金牌会员

积分
50898
发表于 2026-4-12 09:21 | 显示全部楼层
可以保持盈利的结果还是非常漂亮的了
回复 支持 反对

使用道具 举报

8

主题

8276

回帖

1万

金币

千足金牌会员

积分
50898
发表于 2026-4-12 09:21 | 显示全部楼层
whywhy 发表于 2026-4-12 08:53( G! h6 x+ D1 k9 D- S
每天坚持自己的玩法,能稳定有收获确实挺踏实的,190多块也是不错的成果了 ...
2 \9 u$ E$ n7 p: B$ b; {9 G; Z
希望是可以能够每天都坚持这样的玩法的了
回复 支持 反对

使用道具 举报

8

主题

8276

回帖

1万

金币

千足金牌会员

积分
50898
发表于 2026-4-12 09:21 | 显示全部楼层
whywhy 发表于 2026-4-12 08:54
8 b6 J+ o! {; Q盈利快两百块确实值得开心,这成绩能保持住就更好了
( }6 b& M) ~9 E2 x" u% O
楼主盈利了这么多钱,肯定也是会非常开心的事情了
回复 支持 反对

使用道具 举报

11

主题

6628

回帖

1万

金币

千足金牌会员

积分
41683
发表于 2026-4-12 13:29 | 显示全部楼层
可以有这么多的盈利也是会非常高兴的了
回复 支持 反对

使用道具 举报

11

主题

6628

回帖

1万

金币

千足金牌会员

积分
41683
发表于 2026-4-12 13:30 | 显示全部楼层
山区奥特曼 发表于 2026-4-12 09:21$ R. W! r3 `& [8 f; x0 \5 L+ E
希望是可以能够每天都坚持这样的玩法的了

/ Z# {2 S% I+ V7 |相信是可以能够每天都会这样的赚钱吧
回复 支持 反对

使用道具 举报

11

主题

6628

回帖

1万

金币

千足金牌会员

积分
41683
发表于 2026-4-12 13:30 | 显示全部楼层
山区奥特曼 发表于 2026-4-12 09:21
+ J5 h5 b7 A! i, L楼主盈利了这么多钱,肯定也是会非常开心的事情了

  F7 k& j7 Z' w1 f相信是会非常让人开心的事情了
回复 支持 反对

使用道具 举报

50

主题

453

回帖

2923

金币

铜牌用户

积分
7505
发表于 2026-4-12 15:32 | 显示全部楼层
真是非常给力的节奏,把握好策略,赢钱机会很大的
回复 支持 反对

使用道具 举报

您需要登录后才可以回帖 登录 | 立即注册

本版积分规则

广告合作|福利汇|论坛简介|钱包教程|手机版|小黑屋|Archiver|海燕论坛

快速回复 返回顶部 返回列表