找回密码
 立即注册
澳门威尼斯人
U8
U18
海燕招商
A
蓝盾
e世博
islot.
申博亚洲
澳门银河
B
腾博会
德信
C级广告商
吉祥坊
查看: 3016|回复: 89

[彩票] 比特彩票走势不定艰难收904元

[复制链接]

88

主题

2838

回帖

1182

金币

铜牌用户

积分
9709

老会员

发表于 2026-2-28 19:42 | 显示全部楼层 |阅读模式

马上注册,结交更多好友,享用更多功能,让你轻松玩转社区。

您需要 登录 才可以下载或查看,没有账号?立即注册

×
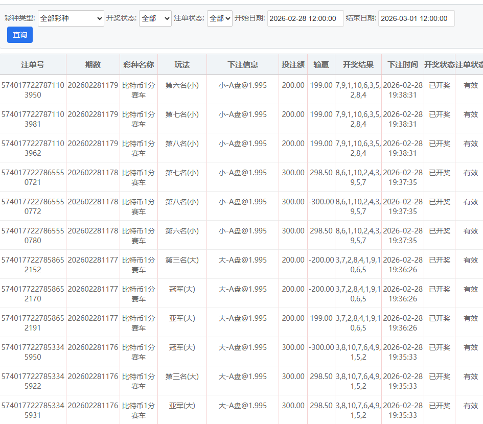
晚上继续着 70-150-200-300-500的战略彩票下注 三定位两面玩法,输了一直往上推到500赢后则从赢时的注码往下推到最低70的位置,投注9000多才收904元;, h9 X8 n" C8 V; \* W+ @

% \6 ]7 e" s+ n& b9 B) f/ _
+ U% p* w. W  v6 h 2.png 3.png 1.png & V0 W) l# c( e. s* [( R1 K8 y: w

评分

参与人数 1金币 +8 收起 理由
海燕RG + 8 实战分享

查看全部评分

回复

使用道具 举报

3508

主题

2万

回帖

1万

金币

版主

积分
96024

优秀版主老会员版主勋章超级精华

发表于 2026-2-28 19:50 | 显示全部楼层
主要还是要看胜率,否则很难扛得住了
回复 支持 反对

使用道具 举报

232

主题

1万

回帖

3969

金币

千足金牌会员

积分
48782

老会员

发表于 2026-2-28 20:13 | 显示全部楼层
这次幸运的,下次就得要再稳点才行呀
回复 支持 反对

使用道具 举报

1459

主题

1万

回帖

1万

金币

千足金牌会员

积分
59446

老会员财富勋章精华勋章交易勋章热心会员魅力达人

发表于 2026-2-28 20:29 | 显示全部楼层
这样的盈利已经很不错了
回复 支持 反对

使用道具 举报

9

主题

2万

回帖

7127

金币

铂金用户

积分
86134

光影行者

发表于 2026-2-28 20:36 | 显示全部楼层
这节奏太折磨人了,推注推到500才回血,9000砸下去就捞900多,心疼钱包
回复 支持 反对

使用道具 举报

9

主题

2万

回帖

7127

金币

铂金用户

积分
86134

光影行者

发表于 2026-2-28 20:36 | 显示全部楼层
笑看人生 发表于 2026-2-28 20:29
/ e- K. [! f+ [* ~* U1 m5 j这样的盈利已经很不错了

! J( z. M6 ~3 _9 o/ e1 Q# n. J9 c能稳住900+已经算硬核了,这走势能抠出来真不容易
回复 支持 反对

使用道具 举报

9

主题

2万

回帖

7127

金币

铂金用户

积分
86134

光影行者

发表于 2026-2-28 20:36 | 显示全部楼层
hy188820 发表于 2026-2-28 20:13
4 S2 i8 [7 v0 P& B; {4 s! s这次幸运的,下次就得要再稳点才行呀

) q+ ^+ n  c5 p走势飘忽确实难搞,稳着来才能细水长流,下次别急着冲
回复 支持 反对

使用道具 举报

619

主题

1万

回帖

4396

金币

千足金牌会员

积分
41768

老会员

发表于 2026-2-28 23:27 | 显示全部楼层
如此丰厚的回报令人赞叹,这是楼主的实力
回复 支持 反对

使用道具 举报

619

主题

1万

回帖

4396

金币

千足金牌会员

积分
41768

老会员

发表于 2026-2-28 23:28 | 显示全部楼层
蔬菜沙拉 发表于 2026-2-28 20:36
! p5 F+ L$ X* T3 ~: D走势飘忽确实难搞,稳着来才能细水长流,下次别急着冲

  M, c/ H% v- v' \$ P
4 p9 h0 A+ j" D# C5 L1 o+ s1 M能长期保持盈利状态就实属难得
回复 支持 反对

使用道具 举报

5

主题

1万

回帖

6209

金币

千足金牌会员

积分
51124
发表于 2026-3-1 02:25 | 显示全部楼层
这推注玩法投九千多才收九百出头,走势不定真够磨人的,这收益和投入比看着也挺闹心
回复 支持 反对

使用道具 举报

5

主题

1万

回帖

6209

金币

千足金牌会员

积分
51124
发表于 2026-3-1 02:26 | 显示全部楼层
一路前行 发表于 2026-2-28 23:28
3 g, |& A2 M2 _/ f) ~2 \& C% A( |6 ^能长期保持盈利状态就实属难得
' I8 {# `. Y, B, U% v
走势那么飘能长期稳着赚真不容易,这次收904也算是熬过来了,别贪稳着来就好
回复 支持 反对

使用道具 举报

1664

主题

8万

回帖

1万

金币

海燕硕士

积分
251232

万时之王老会员精华勋章勤奋勋章交易勋章光影行者

发表于 2026-3-1 05:37 | 显示全部楼层
可以赢这么多钱也是非常厉害的了。
回复 支持 1 反对 0

使用道具 举报

1664

主题

8万

回帖

1万

金币

海燕硕士

积分
251232

万时之王老会员精华勋章勤奋勋章交易勋章光影行者

发表于 2026-3-1 05:37 | 显示全部楼层
蔬菜沙拉 发表于 2026-2-28 20:36
; G, v  L; }# B- \. I  l  h: Y1 G走势飘忽确实难搞,稳着来才能细水长流,下次别急着冲
& q/ T4 |: ^$ Y7 v' _% V
希望是可以能够保持住这样的好运气吧
回复 支持 反对

使用道具 举报

1664

主题

8万

回帖

1万

金币

海燕硕士

积分
251232

万时之王老会员精华勋章勤奋勋章交易勋章光影行者

发表于 2026-3-1 05:37 | 显示全部楼层
一路前行 发表于 2026-2-28 23:27
- g& R! W! K, ]/ J# v8 g7 v如此丰厚的回报令人赞叹,这是楼主的实力

) c" d( X( G5 j# [楼主确实是非常有实力的玩家了呢。
回复 支持 反对

使用道具 举报

1664

主题

8万

回帖

1万

金币

海燕硕士

积分
251232

万时之王老会员精华勋章勤奋勋章交易勋章光影行者

发表于 2026-3-1 05:37 | 显示全部楼层
一路前行 发表于 2026-2-28 23:288 ]6 O. p: ^; v5 _" L
能长期保持盈利状态就实属难得
: o- r) B; s" U& `; l" W9 N
这个确实是非常难得的事情了呢。
回复 支持 反对

使用道具 举报

您需要登录后才可以回帖 登录 | 立即注册

本版积分规则

广告合作|福利汇|论坛简介|钱包教程|手机版|小黑屋|Archiver|海燕论坛

快速回复 返回顶部 返回列表