找回密码
 立即注册
澳门威尼斯人
U8
U18
海燕招商
A
蓝盾
e世博
islot.
申博亚洲
B
开云
腾博会
德信
C级广告商
吉祥坊
华体会
查看: 71433|回复: 16

[足球推荐] 2025年4月30日03:00欧冠 阿森纳VS巴黎圣日尔曼

 火.. [复制链接]

229

主题

3470

回帖

465

金币

银牌会员

积分
10770

老会员交易勋章

发表于 2025-4-29 19:24 | 显示全部楼层 |阅读模式

马上注册,结交更多好友,享用更多功能,让你轻松玩转社区。

您需要 登录 才可以下载或查看,没有账号?立即注册

×
推荐:小2.5
北京时间20254300300将迎来欧冠半决赛的一场比赛,阿森纳主场迎战巴黎圣日尔曼的比赛,两队都来到了半决赛,可以看出来还是非常有实力的,本产比赛也是会非常精彩。
1-1.png
战绩分析:
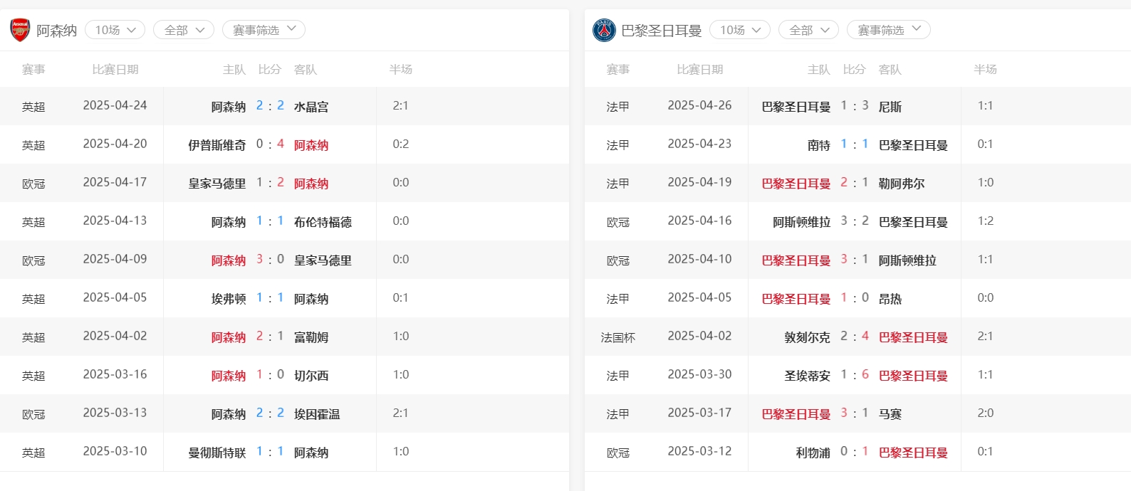
两队历史上仅有5次交手,阿森纳面对巴黎圣日尔曼取得了32平的战绩还是很有战绩上的优势的,最近一次是去年主场20轻松拿下了巴黎圣日尔曼。阿森纳近十场比赛取得了55平的战绩,整体还是非常不错的,在客场两连胜之后,很遗憾主场被水晶宫打平。巴黎圣日尔曼近十场取得了712负的战绩,胜场数比阿森纳都高出不少。
1-2.png 1-3.png
盘口分析:
本场比赛开出阿森纳主场让半球的盘口,可以看出两队实力差距不大,大小球开到了2.5,考虑首回合交手,两队应该都会谨慎一下,看好小球打出。
推荐:小2.5

) T0 d- W& O9 u" K' _) j
fakename.png
, P" j+ [$ d8 N, D0 ]. L. V  i( z
回复

使用道具 举报

205

主题

7329

回帖

1600

金币

银牌会员

积分
17956

老会员光影行者

发表于 2025-4-29 19:30 | 显示全部楼层
盘口方面没有推荐么,我是想下注盘口,大小球看不懂
回复 支持 反对

使用道具 举报

480

主题

3万

回帖

4665

金币

铂金用户

积分
84327

老会员美女勋章勤奋勋章交易勋章

发表于 2025-4-29 20:03 | 显示全部楼层
这个盘口很不错,这场小球还是非常有机会打出来的
回复 支持 反对

使用道具 举报

3

主题

2657

回帖

1191

金币

铜牌用户

积分
8564

老会员

发表于 2025-4-29 21:07 | 显示全部楼层
首轮交锋,谁都不想先露底牌,这场面八成闷平,小球有点意思!
回复 支持 反对

使用道具 举报

25

主题

6483

回帖

1239

金币

金牌会员

积分
20972

老会员光影行者

发表于 2025-4-29 21:32 | 显示全部楼层
这场重磅对决,主队阿森纳对上巴黎圣日耳曼,让半球的生死盘路,从水位来看,阿森纳更有机会的。
回复 支持 反对

使用道具 举报

25

主题

6483

回帖

1239

金币

金牌会员

积分
20972

老会员光影行者

发表于 2025-4-29 21:33 | 显示全部楼层
初秋2323a 发表于 2025-4-29 20:031 X% ~2 X8 g/ m3 I2 E+ D0 Q
这个盘口很不错,这场小球还是非常有机会打出来的
$ |' c7 y+ C7 a* t3 B" v
盘路分析,阿森纳最近持续不败,那么应该是要到进球的时刻了,大球更有机会
回复 支持 反对

使用道具 举报

3622

主题

6万

回帖

4569

金币

海燕硕士

积分
204323

万时之王老会员勤奋勋章交易勋章

发表于 2025-4-30 07:26 | 显示全部楼层
楼主的推荐小球也是很准确的,这一场比赛全场进了一个球了
回复 支持 反对

使用道具 举报

3622

主题

6万

回帖

4569

金币

海燕硕士

积分
204323

万时之王老会员勤奋勋章交易勋章

发表于 2025-4-30 07:27 | 显示全部楼层
决战夕阳 发表于 2025-4-29 21:33
, y& H3 c4 f2 x5 ^盘路分析,阿森纳最近持续不败,那么应该是要到进球的时刻了,大球更有机会 ...

6 }# {+ p0 ]: d  P+ q) Y阿森纳这一场比赛让人失望了,看来大家期待太高了,主队一个进球都没有
回复 支持 反对

使用道具 举报

36

主题

1万

回帖

3789

金币

千足金牌会员

积分
50064

老会员美女勋章光影行者

发表于 2025-4-30 07:41 | 显示全部楼层
最后是0:1的结果,楼主的小球稳稳的打出来了,不错
回复 支持 反对

使用道具 举报

36

主题

1万

回帖

3789

金币

千足金牌会员

积分
50064

老会员美女勋章光影行者

发表于 2025-4-30 07:42 | 显示全部楼层
dollar 发表于 2025-4-30 07:260 Y( |$ \& T% G8 @6 }
楼主的推荐小球也是很准确的,这一场比赛全场进了一个球了
% [" B1 P7 |2 E
是啊,楼主的推荐还是十分的准确的,小球也是稳稳的
回复 支持 反对

使用道具 举报

1378

主题

5万

回帖

9433

金币

钻石用户

积分
157032

万时之王老会员勤奋勋章交易勋章

发表于 2025-4-30 19:04 | 显示全部楼层
阿森纳0-1巴黎圣日尔曼楼主的小球也是稳稳的盈利了 祝贺一下楼主的啊
回复 支持 反对

使用道具 举报

1378

主题

5万

回帖

9433

金币

钻石用户

积分
157032

万时之王老会员勤奋勋章交易勋章

发表于 2025-4-30 19:05 | 显示全部楼层
阿斯蒂芬 发表于 2025-4-29 19:30( s1 C% X2 F6 g" M+ ^  x# h
盘口方面没有推荐么,我是想下注盘口,大小球看不懂
5 p# O" b. t+ Q
不明白的比赛可以直接跟着楼主杀啊 大部分都是可以盈利的啊
回复 支持 反对

使用道具 举报

1378

主题

5万

回帖

9433

金币

钻石用户

积分
157032

万时之王老会员勤奋勋章交易勋章

发表于 2025-4-30 19:05 | 显示全部楼层
dollar 发表于 2025-4-30 07:26
* L" x: `  {7 w0 z6 h  s% ~楼主的推荐小球也是很准确的,这一场比赛全场进了一个球了
! m% x6 c. D7 g' V& k
两只球队的防守都是很稳固的 楼主去小球也是无可厚非的啊
回复 支持 反对

使用道具 举报

1378

主题

5万

回帖

9433

金币

钻石用户

积分
157032

万时之王老会员勤奋勋章交易勋章

发表于 2025-4-30 19:06 | 显示全部楼层
云水谣 发表于 2025-4-30 07:41. E$ {* r' r& `0 E% |
最后是0:1的结果,楼主的小球稳稳的打出来了,不错
5 Z- t+ ^0 P- K( ~7 r
楼主的推荐也是非常的靠谱啊 希望你可以积极的跟进啊
回复 支持 反对

使用道具 举报

2566

主题

5万

回帖

7456

金币

钻石用户

积分
175450

万时之王老会员精华勋章勤奋勋章交易勋章

发表于 2025-5-1 02:13 来自手机 | 显示全部楼层
云水谣 发表于 2025-4-30 07:41, B! Z# q7 H* Z6 ?# \" e- J4 S
最后是0:1的结果,楼主的小球稳稳的打出来了,不错

0 ]/ o- q0 z2 x0 f( q这场球比赛结果0:1,全场进了1个球,楼主推荐小2.5球收米了,还不错
回复 支持 反对

使用道具 举报

您需要登录后才可以回帖 登录 | 立即注册

本版积分规则

广告合作|评测有奖|福利汇|论坛简介|钱包合集|手机版|小黑屋|Archiver|海燕论坛

快速回复 返回顶部 返回列表