找回密码
 立即注册
澳门威尼斯人
U8
U18
海燕招商
A
蓝盾
e世博
islot.
申博亚洲
B
开云
腾博会
德信
C级广告商
吉祥坊
华体会
查看: 207183|回复: 80

[真人] 【实战有奖】今天在申博亚洲二存才回本

[复制链接]

1934

主题

3万

回帖

4261

金币

钻石用户

积分
100540

万时之王老会员超级精华精华勋章勤奋勋章交易勋章

发表于 2025-3-4 02:21 | 显示全部楼层 |阅读模式

马上注册,结交更多好友,享用更多功能,让你轻松玩转社区。

您需要 登录 才可以下载或查看,没有账号?立即注册

×
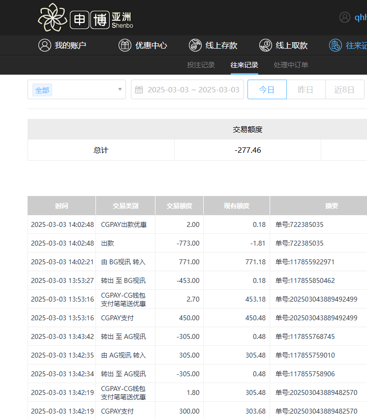
今天在申博亚洲存款300元,继续作战ag百家乐。
# s* B: ~2 l9 O6 q0 Q2 m0 i- L8 r* M/ c& w
还是打起注20的胜进负追混合缆,结果前面三手+20-40+40,也是拿下了一个基码的利润" `7 x% R% r- ]
8 I1 t" s2 X  E) S' d
QQ20250304-014614.jpg
/ t( \* n4 N  N, G0 C9 l$ z5 r' L8 x
之后连黑了三手-20-40-40,也是换台了。) h. N+ _% U# C; y% W

2 m* m  a- I- L7 [% P  f4 s1 D QQ20250304-014819.jpg
: P* ~2 k8 s4 l( T; T- ?3 X- t& A* z/ ~7 j9 K
换台之后胜率还是不理想+40-40-40,已经要逼出80的注码了,于是继续换台+ {  w& l) r4 Z$ ?" y! M# F
& Q9 h( E/ f8 {$ r
QQ20250304-015012.jpg 1 c4 a* {" S2 M8 b/ g) m6 E: S4 k

6 f3 M8 r+ t8 J, |换台之后看到一个庄连闲不连的路子,于是下注80,又是黑了,然后梭哈了余额,终于赢了。3 G" ^5 O4 K7 u) b4 I

/ A: R, L) p* @, ~# d) O/ h& W QQ20250304-015133.jpg
0 a0 U% p! m8 z1 [4 q; ]5 F  s
- t" Z! [/ X# G) |5 {3 i& T2 r赢了之后继续一手80,又是黑,剩下124的余额继续梭哈,这次没好运了,洗白了,也是正好断缆。
/ r+ s# _# z9 I  H; G1 o( N) T8 `
) n4 O+ o9 a* @- c QQ20250304-015234.jpg & {3 `& [& Z$ G5 E6 X; o
QQ20250304-020333.jpg   s/ v5 g! B4 t- A2 g+ f3 c; [
/ Q' Q5 ~- M' Y$ h
断缆之后,想收兵,但想想今天还是有盈利的,索性在申博亚洲再干一场,于是存款450继续战斗。# N  L/ q! M. l" @7 m1 I
, `, M/ i) o8 _7 A+ |& Q, `
QQ20250304-020308.jpg
0 ?- ]# {3 M) P. Z4 w
, \! P1 t/ d8 ~5 X  |没那么好的耐心了,于是将450分成三份,打12负追,如果连黑两手,二存也是洗白。
7 C0 ~0 \& J9 A" G- W0 {, x
* s! j5 `* u, G, B/ B结果上去第一手150黑,梭哈余额303,运气不错,一个神补给赢了。7 l$ \; X- N+ K0 H7 p/ D, i' ]
7 l3 E* t1 w) G8 K
QQ20250304-015426.jpg : i, K5 x" D* i8 B4 S7 N
QQ20250304-015539.jpg
. g7 C3 N0 S7 {  e3 }7 ]( J: V- G+ R' s- P
此时余额590,继续分成三份,打了一手190,如果不中,那就是梭哈余额400,结果这一手190中了
4 I' v+ I/ z4 ^
/ C  q( C* q' B9 S8 q/ w QQ20250304-015655.jpg $ J0 o1 b& ]! a  i$ A

$ l- n6 o/ u, R9 |已经将ag的损失打回来了,也是没必要继续了,提款走人了。
$ H. M! c! Q; H) D$ p- I$ q1 `; h. D# }% ?. G1 I1 f
QQ20250304-015759.jpg
, M1 l# L5 ]4 _. z7 U5 K1 k
5 \; Z' _5 d9 K. M5 p& C0 X! j) K" z本场战斗,应该说也是打的非常有风险,但关键是自己美东时间3号,也就是昨天下午顶住了下风,反败为胜了,盈利差不多800左右。导致自己这一场洗白了300之后,有底气还可以拿出450的利润,来继续战斗,而且远远没到达自己的止损线(今天止损线1167,也 就是说,即使二存洗白了,自己还可以三存1200左右干狗庄,一点都不害怕)。资金方面有底气,并且抱着连黑两手就洗白的姿态,注码大胆下,靠着神补的运气,翻本了,也是不错的收获了。+ x0 S1 x! }5 n) {

6 l6 @( v: P* y9 C" e
5 c2 Y* V; e8 |  s: s
回复

使用道具 举报

278

主题

1万

回帖

4452

金币

金牌会员

积分
34776

老会员光影行者

发表于 2025-3-4 05:21 | 显示全部楼层
只要是不输钱,都是能够接受的,希望以后都能够有个好的结果了。
回复 支持 反对

使用道具 举报

61

主题

4万

回帖

258

金币

钻石用户

积分
120623

万时之王老会员勤奋勋章交易勋章光影行者

发表于 2025-3-4 06:51 | 显示全部楼层
能够回本也是可以了,反正自己好好把握的了,加油的了,搞起来的呢!
回复 支持 反对

使用道具 举报

61

主题

4万

回帖

258

金币

钻石用户

积分
120623

万时之王老会员勤奋勋章交易勋章光影行者

发表于 2025-3-4 06:51 | 显示全部楼层
没牙的兔子 发表于 2025-3-4 05:21
+ |+ }' T( [, [" e+ k4 W只要是不输钱,都是能够接受的,希望以后都能够有个好的结果了。

& m" R8 T) o  e5 `6 I8 J但是我们都是希望可以赚钱,这就是我们的BC目标了,加油吧!
回复 支持 反对

使用道具 举报

807

主题

2万

回帖

1万

金币

铂金用户

积分
93989

老会员精华勋章魅力达人

发表于 2025-3-4 06:51 来自手机 | 显示全部楼层
虽然是侥幸回本了,但过程连续发生梭哈也是非常危险。
回复 支持 反对

使用道具 举报

807

主题

2万

回帖

1万

金币

铂金用户

积分
93989

老会员精华勋章魅力达人

发表于 2025-3-4 06:53 来自手机 | 显示全部楼层
奔四 发表于 2025-3-4 06:517 }* ?  R, p$ ^  s# C
但是我们都是希望可以赚钱,这就是我们的BC目标了,加油吧!

8 F3 S$ W3 }3 R0 N8 X% h2 k菠菜太难了,就是因为太想赢钱,所以就会输钱的时候就会冲动,这是大家都有过的心态。
回复 支持 反对

使用道具 举报

807

主题

2万

回帖

1万

金币

铂金用户

积分
93989

老会员精华勋章魅力达人

发表于 2025-3-4 06:54 来自手机 | 显示全部楼层
没牙的兔子 发表于 2025-3-4 05:21
% F+ ]: W! L8 ^' Z0 v; x只要是不输钱,都是能够接受的,希望以后都能够有个好的结果了。
& k1 S+ J! M5 K  m8 y/ k" R
能靠运气逆转不输钱也是不错的结果了,保住本金很重要的。
回复 支持 反对

使用道具 举报

3788

主题

8万

回帖

1万

金币

海燕硕士

积分
239612

万时之王老会员精华勋章勤奋勋章

发表于 2025-3-4 08:08 | 显示全部楼层
不管怎么样只要最后能够回本的话那就是最舒服的一个结果一定要多多坚持起来才行
回复 支持 反对

使用道具 举报

3788

主题

8万

回帖

1万

金币

海燕硕士

积分
239612

万时之王老会员精华勋章勤奋勋章

发表于 2025-3-4 08:08 | 显示全部楼层
linx1978 发表于 2025-3-4 06:54
0 u2 E% O, r/ l: m能靠运气逆转不输钱也是不错的结果了,保住本金很重要的。
0 ~" i: {7 U, G7 _& ^% m
不亏损的话就行了呀,反正还是要自己不断的去坚持把本金保护好
回复 支持 反对

使用道具 举报

3788

主题

8万

回帖

1万

金币

海燕硕士

积分
239612

万时之王老会员精华勋章勤奋勋章

发表于 2025-3-4 08:09 | 显示全部楼层
linx1978 发表于 2025-3-4 06:53
5 R$ v) J) q3 X0 j( a( q( p. C; @2 B  x菠菜太难了,就是因为太想赢钱,所以就会输钱的时候就会冲动,这是大家都有过的心态。 ...
/ ?) N& W; D7 c+ m- m
这个也真的是特别有难度的,每个人都想要赢钱,可最后的话呢,也确实是没有收获
回复 支持 反对

使用道具 举报

137

主题

1万

回帖

3279

金币

金牌会员

积分
30395

老会员交易勋章光影行者

发表于 2025-3-4 08:17 | 显示全部楼层
看起来楼主的运气,还是很不错的,能够赢钱就是很不错的。
回复 支持 反对

使用道具 举报

1053

主题

2万

回帖

8569

金币

铂金用户

积分
74633

老会员交易勋章光影行者

发表于 2025-3-4 08:42 | 显示全部楼层
最后还是打回来了,也不错了,虽然过程很坎坷
回复 支持 反对

使用道具 举报

1053

主题

2万

回帖

8569

金币

铂金用户

积分
74633

老会员交易勋章光影行者

发表于 2025-3-4 08:43 | 显示全部楼层
小雨点 发表于 2025-3-4 08:175 k4 c) b* ^( t  i( h" X8 F
看起来楼主的运气,还是很不错的,能够赢钱就是很不错的。

, N: ?4 H! V- k/ k9 n1 U是啊,最后楼主的运气还是可以的,赚了一些钱也是好结果
回复 支持 反对

使用道具 举报

2339

主题

7万

回帖

8071

金币

海燕硕士

积分
221000

老会员超级精华精华勋章美女勋章勤奋勋章交易勋章万时之王

发表于 2025-3-4 10:00 | 显示全部楼层
你每次这样的话还是有风险的不过也是看运气的吧慢慢来玩还是有机会的
回复 支持 反对

使用道具 举报

2339

主题

7万

回帖

8071

金币

海燕硕士

积分
221000

老会员超级精华精华勋章美女勋章勤奋勋章交易勋章万时之王

发表于 2025-3-4 10:00 | 显示全部楼层
飞舞倾城 发表于 2025-3-4 08:43- s! v6 E" v) E" L6 m* @
是啊,最后楼主的运气还是可以的,赚了一些钱也是好结果
' K) m& _" N4 o/ ]& r2 K
有个好的运气也是值得玩的,赚一点钱总是有机会慢慢玩
回复 支持 反对

使用道具 举报

您需要登录后才可以回帖 登录 | 立即注册

本版积分规则

广告合作|评测有奖|福利汇|论坛简介|钱包合集|手机版|小黑屋|Archiver|海燕论坛

快速回复 返回顶部 返回列表